 |
 
 
Home
Implementation
Testing
Add-Ons
> disman API
> Smurf
> JAX
> Schedule-MIB
> Tcl Engine
> Policy Mgmt
Documentation
Download
Mailinglist
People

|
 |
 |

The Jasmin Project
Policy-based Configuration Mangement using the Script-MIB
The concept policy-based configuration management
is to apply rules of the form
``if then '' to a sets of network elements,
so that all elements matching specific `conditions' get configured
appropriately by the `action'.
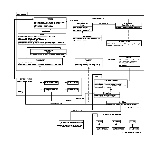
As part of the Jasmin project a set of three class packages has been
developed to support policy based configuration management of
Linux DiffServ nodes:
- A general policy management language extension (class package
policyMgmt) provides
interfaces to derive and implement policies, rules, conditions,
actions, network elements, event generators and events.
- Domain specific language extensions provide abstract interfaces to
network elements of a specific policy application domain. They
allow policy scripts to retrieve element attributes and event
notifications and to correlate them to make policy decisions, so
that they can in turn be used to configure network elements.
We have implemented a library for the configuration of
DiffServ nodes (class package diffServ).
- Drivers realize the mapping between the domain specific interfaces
and the underlying device-level mechanism to actually configure
the network elements. We have implemented a DiffServ driver for the
Linux 2.4 traffic conditioning (class package jtc).
Please note that the implementation is a very limited and incomplete
research prototype. It cannot be used for real purpose.
For further information, please read the
reports available from the Documentations section
and the JAVADOC descriptions of the
policyMgmt,
diffServ, and
jtc class packages.
© 2000 TU Braunschweig, NEC C&C Europe -
Wed Sep 5 12:59:42 2001
|
 |